傳統的電腦主要靠主電源中的排風扇來散熱,電源接通后,排風扇即開始工作,通過主機箱上設置的通孔,將外部的空氣吸進機箱,經由主板、硬盤、CPU、 光驅等,再進入主電源后由排風扇排出機箱外,雖然起到了散熱效果,但空氣中的塵螨極易吸入機箱中,駐留在各種電路板上,長年累月的積累,不但影響電路本身的散熱,而且由于空氣的潮濕,極易造成電路電極之間漏電,在高速運行時使電腦極易死機。特別是,現在CPU的運行速度越快,對散熱效果的要求程度越高,原來僅靠主電源上的排風扇散熱的方式也不能滿足要求。
本文介紹一款可加速機箱內散熱,次要目的是可對通過的空氣進行過濾和殺菌的電腦散熱風扇組合機構。
為達到上述目的,這種電腦散熱風扇組合機構主要由電腦風扇和安裝在電腦風扇進氣口上的光觸媒網組成。

光觸媒網與電腦風扇進氣口之間設有空氣過濾網。
它還包括一用于放置電腦散熱風扇的風扇機架,該風扇機架固定在電腦主機機殼上,電腦風扇可方便的安放在風扇機架內。
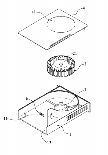
文本電腦散熱風扇主要由盒狀風扇本體、扇葉和扇葉固定支架組成;扇葉固定支架固接在風扇本體上,扇葉活動安裝在扇葉固定支架上;盒狀風扇本體的中空腔形成空氣通道,在該空氣通道的進氣口上設有一光觸媒網。
空氣通道的任一位置設有可全面照射該光觸媒網的一一個及一個以上的紫外線發光二極管。
在所述的盒狀風扇本體上、與空氣通道的進氣口的對應的另一端設有一凸柱,該凸柱構成所述的扇葉固定支架;所述的扇葉呈蝸輪狀,其中心孔套接在所述的凸柱上并可圍繞該凸柱旋轉,在風扇本體上、與扇葉對應處開設有與空氣通道垂直的出氣口。
本文還可以將習用的電腦風扇安裝在一盒狀帶有進、出氣口的風扇本體內,在該習用的電腦風扇與風扇本體的進氣口之間形成空氣通道,在所述的進氣口上設有一空氣過濾網。
空氣通道的任一位置設有可全面照射該光觸媒網的一個及一個以上的紫外線發光二極管。
盒狀風扇本體內凸設有多個固定架,習用的電腦風扇固定在該多個固定架上;在風扇本體上、與習用的電腦風扇對應處開設有與空氣通道垂直的出氣口。
盒狀風扇本體內凸設有安裝紫外線發光二極管的固定架。
本文電腦風扇還可由盒蓋、空氣過濾網、連接框架、紫外線發光二極管、弓形支架、多個習用的電腦風扇和殼體組成??諝膺^濾網與光觸媒網套置在盒蓋內后再一起套置在連接框架內;紫外線發光二極管安裝在弓形支架.上;弓形支架安裝在多個習用的電腦風扇上;多個習用的電腦風扇套置在殼體內;連接框架通過螺釘固接在殼體上,使得置于連接框架內的空氣過濾網與紫外線發光二極管相向設置且紫外線發光二極管可全面照射光觸媒網。
多個習用的電腦風扇為三個并列設置的習用的電腦風扇組成。
殼體內還設有一接線盒,電線通過該接線盒連接習用的電腦風扇和紫外線發光二極管。
該電腦散熱風扇組合機構具有以下優點:
1)加速空氣在機箱內的循環,使散熱加快;
2)改變了空氣在機箱內的流通方向,從本實用新型的進氣口進氣,經機箱上的通孔出氣,進氣過程中經由過濾網過濾了空氣中的塵螨,使灰塵難以沉積在機箱的電路板上;
3)通過使用了光觸媒網和紫外二極體的照射,可以分解空氣中有害氣體:甲醛、甲苯、甲醇等;破壞細菌的細胞膜并進-步降解細胞內的有機物,使細菌細胞死亡;凝固病毒的蛋白質使之失去活性以達到破壞病毒的效果,對肺炎克雷伯氏菌、枯草芽胞桿菌、白色念珠菌、霉菌、金黃色葡萄球菌、大腸桿菌、乙肝病毒等細菌的殺死率達90%以上,因此在使用電腦的過程中還可以清新空氣,提高了生活品質。由于本實用新型可拆卸下來單獨在汽車或臥室等環境使用,不需要另外購買空氣清新機,減少占地,美化了環境。