本文專門為大家介紹一種電腦機箱內散熱風扇的控制裝置。
電腦在使用過程中,其機箱內會產生熱量,如不能及時散熱,將嚴重影響到機器的性能。因此機箱散熱問題始終是電腦生產廠家必須認真考慮的問題。為解決這個問題,現在的電腦機箱內設置了若千幾個散熱風扇,這些散熱風扇是隨著機器啟動而一起動作的,但電腦隨著使用時間的長短不同,其機箱內的溫度也是不同的,如果使用時間較短的話,機箱內的溫度不會太高,并不需要機箱內的散熱風扇全部動作,甚至根本不需要散熱風扇,由此可見,現有的電腦機箱內散熱風扇的控制方式不是很合理。
本文的目的就在于針對現有技術的不足之處而提供-種可自動檢測電腦機箱內溫度并相應地控制散熱風扇的開關的控制裝置。
本文是通過如下技術方案實現的:它由液晶顯示器、控制芯片、溫度探頭以及開關鍵組成,控制芯片分別與液晶顯示器、伸入電腦機箱內的溫度探頭、開關鍵以及電腦機箱內的散熱風扇連接。
通過上述的結構,電腦機箱內的散熱風扇的開關與否以及開啟多少個風扇皆可根據溫度探頭檢測到的機箱內的實際溫度而由控制芯片進行控制并顯示在液晶顯示器的顯示屏上,可有效地節約電能,且使用十分方便。附圖說明:

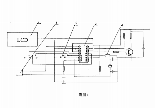
附圖1為本文的電路原理圖
見附圖1所示,本文包括有:液晶顯示器1,控制芯片2、溫度探頭以及開關鍵,控制芯片2分別與液晶顯示器1、伸入電腦機箱內的溫度探頭3、開關鍵4、5以及電腦機箱內的散熱風扇F1、F2、F3連接;控制芯片2的型號為EM78P156ELP;液晶顯示器1通過數據線和控制芯片2的第2、6、7腳相連,溫度探頭3和控制芯片2的第1腳相連,開關鍵4控制芯片2的第12腳相連,開關鍵5分別與液晶顯示器的數據線以及控制芯片的第3、5、13相連,電腦機箱內的三個散熱風扇F1、F2、F3分別與第9、10、11腳相連。
具體實施方式:
本文在使用過程中,當溫度探頭3檢測到機箱內的的溫度高于15攝氏度時,控制芯片2的第9腳輸出5V高電平,機箱內的第一個風扇啟動,同時液晶顯示器1的顯示屏上顯示FANI/ON;當當溫度探頭3檢測到機箱內的的溫度高于30攝氏度時,控制芯片2的第10腳輸出5V高電平,機箱內的第二個風扇啟動,同時液晶顯示器1的顯示屏上顯示FAN2/ON;當溫度探頭3檢測到機箱內的的溫度高于45攝氏度時,控制芯片2的第9腳輸出5V高電平,機箱內的第三個風扇啟動,同時液晶顯示器1的顯示屏上顯示FAN3/ON;而當溫度探頭3檢測到機箱內的的溫度在15 攝氏度以下時,控制芯片2的第9、第10腳和第11腳皆輸出0V低電平,機箱內風扇全部關閉;開關鍵4的作用是:當它被按下時,控制芯片2的第9、第10腳和第11腳皆輸出5V高電平,同時,液晶顯示器1的背光板發亮,當松開開關漿4后,控制芯片2的第9、第10腳和第11腳恢復正常工作,背光板不亮;開關鍵5的作用是:當按下開關鍵5時,液晶顯示器1的背光板發亮,而當松開開關鍵5后,背光板仍可繼續亮5秒鐘時間。